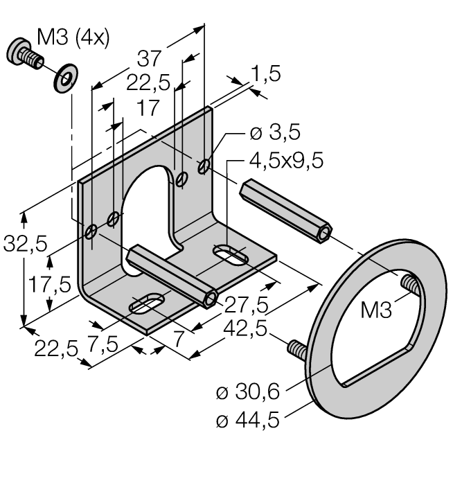
Product  SMU315DQDP

Daimler – Release as per iMRM Wave 6

Sales Support Document (EN)

Order number: DP000126
#
to top